Product Summary
The SAB80C535-N is a powerful member of the Siemens SAB 8051 familyof 8-bit microcontrollers. It is designed in Siemens ACMOS technology and is functionallycompatible with the SAB80C535-N device designed in MYMOS technology.The SAB80C535-N is a stand-alone, high-performance single-chip microcontrollerbased on the SAB80C535-N architecture. While maintaining all the SAB80C535-N operating characteristics, the SAB80C535-N incorporates several enhancements whichsignificantly increase design flexibility and overall system performance. In addition, the low-power properties of Siemens ACMOS technology allow applications where power consumption and dissipation are critical. Furthermore, the SAB80C535-N has two software-selectable modes of reduced activity for further power reduction: idle and power-down mode.
Features
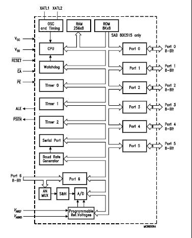
SAB80C535-N features: (1)8 K × 8 ROM (SAB 80C515 only); (2)Six 8-bit I/O ports, one input port for digital or analog input; (3)Three 16-bit timer/counters; (4)Highly flexible reload, capture, compare capabilities; (5)Full-duplex serial channel; (6)Twelve interrupt vectors, four priority levels; (7)16-bit watchdog timer.
Diagrams

(China (Mainland))






