Product Summary
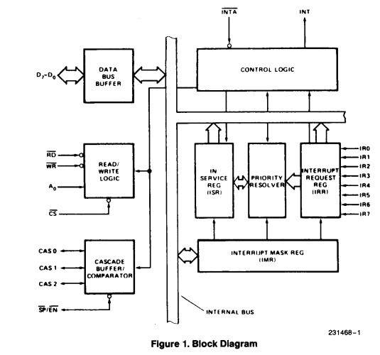
The MD8259A is a programmable interrupt controller. The MD8259A handles up to eight vectored prioity interrupts for the CPU. It is cascadable for up to 64 vectored priority interrupts without additional circuitry. The MD8259A is packaged in a 28 pin DIP, uses NMOS technology and requires a single +5V supply. Circuitry is staticm requiring no clock input.
Parametrics
MD8259A absolute maximum ratings: (1)Abient temperature under bias: 0 to 70℃; (2)Storage temperature: -65 to +150℃; (3)Voltage on any pin with respead to ground: -0.5 to +7V; (4)Power dissipation: 1W.
Features
MD8259A features:(1)Single +5V supply; (2)MCS-80, MCS-85 compatible; (3)Eight-level priority controller; (4)Expandable to 64 levels; (5)Programmable interrupt modes; (6)Individual request mask capability.
Diagrams

(China (Mainland))






