Product Summary
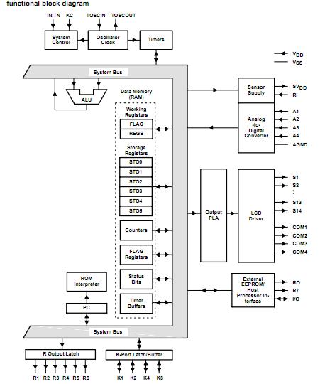
The TSS400CFN-1 is an ultra-low power, intelligent, 12-bit A/D converter (ADC) that has been preprogrammed with the Sensor Macro Programming Language (SMPL) interpreter. This language allows fast, easy, and economical customization of the TSS400CFN-1 to a wide range of sensor signal processing applications. The application specific programs that customize the operation of the TSS400CFN-1 are stored in external EEPROMs along with any additional data required by the application.
Parametrics
TSS400CFN-1 absolute maximum ratings: (1)Supply voltage range, VDD: –0.3 V to 7 V; (2)Input voltage range, VI: VSS –0.3 V to VDD+0.3 V; (3)Diode current: ± 2 mA; (4)Operating free-air temperature range, TA: 0 to 70℃; (5)Storage temperature range: –50 to 150℃.
Features
TSS400CFN-1 features: (1)12-Bit ADC With 4-Multiplexed Inputs; (2)Wide Supply Voltage Range 2.6 V to 5.5 V; (3)Low Power Consumption Typical at VDD = 3 V; (4)Onboard 4-MUX 56-Segment LCD Driver; (5)Onboard Ratiometric Current Source Programmable From 0.15 mA × (SVDD/V) to 2.4 mA × (SVDD/V); (6)Two Independent Crystal Controlled Timers (32.768 kHz); (7)Internal MOS Oscillator Serves as System Clock; (8)Programmable Microcontroller; (9)Simple and Easy Programming With SMPL Macro Language.
Diagrams

![]() |
![]() TSS41NGPC |
![]() TE Connectivity / Alcoswitch |
![]() Slide Switches 4PDT ON-NONE-ON VERT |
![]() Data Sheet |
![]()
|
|
||||||||||||
![]() |
![]() TSS42L |
![]() Taiwan Semiconductor |
![]() Schottky (Diodes & Rectifiers) Schottky 150mW |
![]() Data Sheet |
![]()
|
|
||||||||||||
![]() |
![]() TSS42U |
![]() Taiwan Semiconductor |
![]() Schottky (Diodes & Rectifiers) Schottky 150mW |
![]() Data Sheet |
![]()
|
|
||||||||||||
![]() |
![]() TSS43L |
![]() Taiwan Semiconductor |
![]() Schottky (Diodes & Rectifiers) Schottky 150mW |
![]() Data Sheet |
![]()
|
|
||||||||||||
![]() |
![]() TSS43U |
![]() Taiwan Semiconductor |
![]() Schottky (Diodes & Rectifiers) Schottky 150mW |
![]() Data Sheet |
![]()
|
|
||||||||||||
![]() |
![]() TSS463-AA:RD |
![]() Atmel |
![]() Erasers ASICS |
![]() Data Sheet |
![]() Negotiable |
|
||||||||||||
(China (Mainland))









