Product Summary
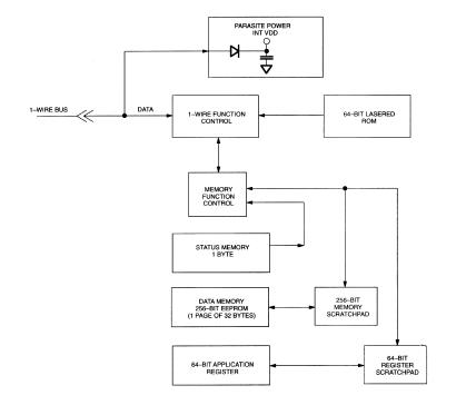
The DS2430A is a 256-bit 1-Wire EEPROM which identifies and stores relevant information about the product to which it is associated. This lot or product specific information can be accessed with minimal interface, for example a single port pin of a microcontroller. The DS2430A consists of a factory-lasered registration number that includes a unique 48-bit serial number, an 8-bit CRC, and an 8-bit Family Code (14h) plus 256 bits of user-programmable EEPROM and a 64-bit one-time programmable application register. The power to read and write the DS2430A is derived entirely from the 1-Wire communication line. Data is transferred serially via the 1-Wire protocol which requires only a single data lead and a ground return. The 48-bit serial number that is factory-lasered into each DS2430A provides a guaranteed unique identity which allows for absolute traceability. The TO-92 and TSOC packages provide a compact enclosure that allows standard assembly equipment to handle the device easily for attachment to printed circuit boards or wiring. Typical applications include storage of calibration constants, board identification and product revision status.
Parametrics
DS2430A absolute maximum ratings: (1)Voltage on DATA to Ground: -0.5V to +7.0V; (2)Operating Temperature: -40℃ to +85℃; (3)Storage Temperature: -55℃ to +125℃; (4)Soldering Temperature: 260℃ for 10 seconds.
Features
DS2430AP features: (1)256-bit Electrically Erasable Programmable Read Only Memory (EEPROM) plus 64-bit one-time programmable application register; (2)Unique, factory-lasered and tested 64-bit registration number (8-bit family code + 48-bit serial number + 8-bit CRC tester) assures absolute identity because no two parts are alike; (3)Built-in multidrop controller ensures compatibility with other MicroLAN products; (4)EEPROM organized as one page of 32 bytes for random access; (5)Reduces control, address, data and power to a single data pin; (6)Directly connects to a single port pin of a microprocessor and communicates at up to 16.3 kbits per second; (7)8-bit family code specifies DS2430A communication requirements to reader.
Diagrams

| Image | Part No | Mfg | Description | ![]() |
Pricing (USD) |
Quantity | ||||||||||||
|---|---|---|---|---|---|---|---|---|---|---|---|---|---|---|---|---|---|---|
![]() |
![]() DS2430AP |
![]() Maxim Integrated Products |
![]() EEPROM |
![]() Data Sheet |
![]() Negotiable |
|
||||||||||||
![]() |
![]() DS2430AP/T&R |
![]() Maxim Integrated Products |
![]() EEPROM |
![]() Data Sheet |
![]() Negotiable |
|
||||||||||||
![]() |
![]() DS2430AP+ |
![]() Maxim Integrated Products |
![]() EEPROM 256-Bit 1-Wire EEPROM |
![]() Data Sheet |
![]()
|
|
||||||||||||
![]() |
![]() DS2430AP+T&R |
![]() Maxim Integrated Products |
![]() EEPROM 256-Bit 1-Wire EEPROM |
![]() Data Sheet |
![]() Negotiable |
|
||||||||||||
(China (Mainland))










