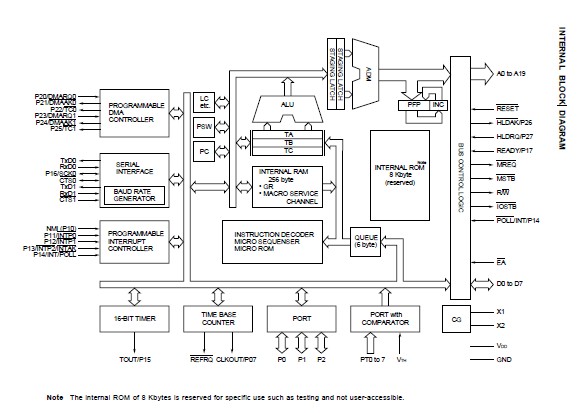
Product Summary
The D70325L-10 is a single-chip microcontroller on which 16-bit CPU, RAM, serial interface, timer, DMA controller, interrupt controller, etc. are all integrated. The D70325L-10 is software compatible with the 16/8-bit singlechip microcontroller mPD70320 (V25TM). The V25+ greatly improves the DMA responsivity and transfer rate compared to the V25.
Parametrics
D70325L-10 maximum ratings: (1)Supply Voltage: VDD= – 0.5 to +7.0 V, VTH= – 0.5 to VDD + 0.5 V; (2)Input Voltage: – 0.5 to VDD + 0.5 V; (3)Output Voltage: – 0.5 to VDD + 0.5 V; (4)Output Current Low: Each output pin= 4.0 mA, Total= 50 mA; (5)Output Current High: Each output pin= –2.0 mA, Total= –20 mA; (6)Operating Ambient Temperature: –10 to +70 ℃; (7)Storage Temperature: – 65 to +150 ℃.
Features
D70325L-10 features: (1)Software compatible with V25; (2)Internal 16-bit architecture and external 8-bit data bus; (3)3-stage pipeline method; (4)Memory space 1 Mbyte; (5)On-chip RAM : 256 words ×8 bits; (6)Register bank (memory mapped method) : 8 banks; (7)Input port (port T) with comparator : 8 bits; (8)I/O lines (input port : 4 bits, input/output ports : 20 bits); (9)Serial interface : 2 channels; (10)DRAM and pseudo SRAM refreshing function; (11)DMA controller : 2 channels.
Diagrams

![]() |
![]() D703008 |
![]() TE Connectivity |
![]() General Purpose / Industrial Relays 0200 J RELAY |
![]() Data Sheet |
![]()
|
|
||||||
(China (Mainland))








